US military designs new grenade to take down enemy drones
United States military researchers have created a new type of grenade…
PrecisonHawk and Skylogic Research Explain the Economic Benefits of BVLOS in New, Free Whitepaper
The newly available whitepaper from PrecisionHawk and Skylogic Research, The…
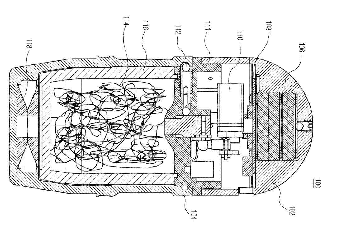
US Army Patents Drone-Snaring Grenade
There are several problems with shooting drones out of the sky. Often that…
Gamifying Drone Training: Inside DroneU and Pix4D’s Accident Scene Reconstruction Training
An insider look at DroneU and Pix4D‘s Accident Scene Reconstruction Training…
Yuneec Rolls Out RTK Satellite Navigation for Their H520
Yuneec recently announced that their H520 hexacopter will now be available with…


















