Sony Airpeak drone wows fans at virtual CES 2021
CES 2021 is virtual this year, but that doesn’t mean it’s any less…
Key DJI leader leaves for Auterion
On the heels of announcing that he was leaving his job as Senior Director of…
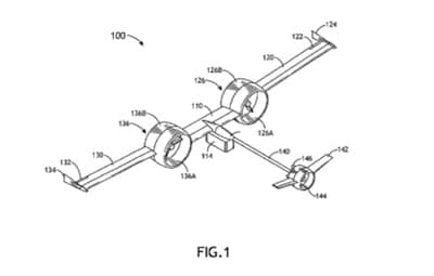
Draganfly Receives Patent for VTOL Delivery Drone
Draganfly is working to develop a vertical take-off and landing (VTOL) cargo…
The countries whose governments are most prepared for drones
The drone industry hasn’t exploded at quite the pace that the experts in…



















